我爱辅助论坛

 找回密码
 【点我注册】

QQ登录

只需一步,快速开始

举报 枫灬·☆★

 关闭 [复制链接]

签到天数: 907 天

连续签到: 1 天

[LV.10]以坛为家III

发表于 2014-8-29 20:44:00 | 显示全部楼层
孤单自己, 发表于 2014-8-29 20:41
- -,
       我现在又不是版主,
怎么处分,

都听小新的啦
小新给我说说咋办
温馨提示:为了保护系统安全,使用辅助前,请务必使用影子系统。

发帖求助前要善用论坛搜索功能,那里可能会有你要找的答案;

如果你在论坛求助问题,并且已经从坛友或者管理的回复中解决了问题,请把帖子标题加上【已解决】

如何回报帮助你解决问题的坛友,一个好办法就是给对方加【好评】【金币】,加分不会扣除自己的积分,做一个热心并受欢迎的人!

回复 支持 反对

使用道具 举报

签到天数: 718 天

连续签到: 1 天

[LV.9]以坛为家II

发表于 2014-8-29 20:45:12 | 显示全部楼层
辛亏我没下! 

发帖求助前要善用论坛搜索功能,那里可能会有你要找的答案;

如果你在论坛求助问题,并且已经从坛友或者管理的回复中解决了问题,请把帖子标题加上【已解决】

如何回报帮助你解决问题的坛友,一个好办法就是给对方加【好评】【金币】,加分不会扣除自己的积分,做一个热心并受欢迎的人!

回复 支持 反对

使用道具 举报

签到天数: 222 天

连续签到: 1 天

[LV.7]常住居民III

 楼主| 发表于 2014-8-29 20:46:42 | 显示全部楼层
晴雪有灵蝶oy 发表于 2014-8-29 20:44
都听小新的啦
小新给我说说咋办

  他的软件有病毒,
          而且还有绑定软件,,,
    禁言3天处理,
情节严重者禁言7—14天,

评分

参与人数 1金钱 +2 收起 理由
伊人。 + 2 OK了。我这就去处理

查看全部评分

发帖求助前要善用论坛搜索功能,那里可能会有你要找的答案;

如果你在论坛求助问题,并且已经从坛友或者管理的回复中解决了问题,请把帖子标题加上【已解决】

如何回报帮助你解决问题的坛友,一个好办法就是给对方加【好评】【金币】,加分不会扣除自己的积分,做一个热心并受欢迎的人!

回复 支持 反对

使用道具 举报

头像被屏蔽

签到天数: 393 天

连续签到: 1 天

[LV.9]以坛为家II

发表于 2014-8-29 20:46:51 | 显示全部楼层
提示: 作者被禁止或删除 内容自动屏蔽

发帖求助前要善用论坛搜索功能,那里可能会有你要找的答案;

如果你在论坛求助问题,并且已经从坛友或者管理的回复中解决了问题,请把帖子标题加上【已解决】

如何回报帮助你解决问题的坛友,一个好办法就是给对方加【好评】【金币】,加分不会扣除自己的积分,做一个热心并受欢迎的人!

回复 支持 反对

使用道具 举报

签到天数: 222 天

连续签到: 1 天

[LV.7]常住居民III

 楼主| 发表于 2014-8-29 20:47:14 | 显示全部楼层

妈蛋。
我下了!

发帖求助前要善用论坛搜索功能,那里可能会有你要找的答案;

如果你在论坛求助问题,并且已经从坛友或者管理的回复中解决了问题,请把帖子标题加上【已解决】

如何回报帮助你解决问题的坛友,一个好办法就是给对方加【好评】【金币】,加分不会扣除自己的积分,做一个热心并受欢迎的人!

回复 支持 反对

使用道具 举报

签到天数: 222 天

连续签到: 1 天

[LV.7]常住居民III

 楼主| 发表于 2014-8-29 20:48:23 | 显示全部楼层
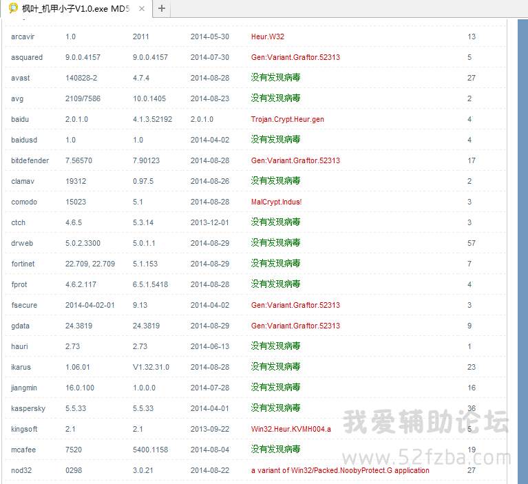
瑾哥 发表于 2014-8-29 20:46
广告 而已 不是病毒 不影响用户使用的

2.png   ,
  这个是扫毒报告,
    他的软件而且已经有还几个人说没法用了,

发帖求助前要善用论坛搜索功能,那里可能会有你要找的答案;

如果你在论坛求助问题,并且已经从坛友或者管理的回复中解决了问题,请把帖子标题加上【已解决】

如何回报帮助你解决问题的坛友,一个好办法就是给对方加【好评】【金币】,加分不会扣除自己的积分,做一个热心并受欢迎的人!

回复 支持 反对

使用道具 举报

签到天数: 404 天

连续签到: 1 天

[LV.9]以坛为家II

发表于 2014-8-29 20:52:55 | 显示全部楼层
可以封号了     

感觉很大的潜力啊


这么多红色的

哥你在干啥呢

发帖求助前要善用论坛搜索功能,那里可能会有你要找的答案;

如果你在论坛求助问题,并且已经从坛友或者管理的回复中解决了问题,请把帖子标题加上【已解决】

如何回报帮助你解决问题的坛友,一个好办法就是给对方加【好评】【金币】,加分不会扣除自己的积分,做一个热心并受欢迎的人!

回复 支持 反对

使用道具 举报

签到天数: 222 天

连续签到: 1 天

[LV.7]常住居民III

 楼主| 发表于 2014-8-29 20:53:51 | 显示全部楼层
论坛防水墙 发表于 2014-8-29 20:52
可以封号了     

感觉很大的潜力啊

没事啊,
  我妹刚刚给我打骚扰玩...
     本来今天晚上想出去玩的,
但没出去。

发帖求助前要善用论坛搜索功能,那里可能会有你要找的答案;

如果你在论坛求助问题,并且已经从坛友或者管理的回复中解决了问题,请把帖子标题加上【已解决】

如何回报帮助你解决问题的坛友,一个好办法就是给对方加【好评】【金币】,加分不会扣除自己的积分,做一个热心并受欢迎的人!

回复 支持 反对

使用道具 举报

签到天数: 222 天

连续签到: 1 天

[LV.7]常住居民III

 楼主| 发表于 2014-8-29 20:54:56 | 显示全部楼层
@瑾哥   
  勤哥。
    你来看看怎么处理好。
      报毒有好几个是发现病毒的,

发帖求助前要善用论坛搜索功能,那里可能会有你要找的答案;

如果你在论坛求助问题,并且已经从坛友或者管理的回复中解决了问题,请把帖子标题加上【已解决】

如何回报帮助你解决问题的坛友,一个好办法就是给对方加【好评】【金币】,加分不会扣除自己的积分,做一个热心并受欢迎的人!

回复 支持 反对

使用道具 举报

签到天数: 211 天

连续签到: 1 天

[LV.7]常住居民III

发表于 2014-8-29 20:55:47 | 显示全部楼层
大哥 有木有用世界查毒看

发帖求助前要善用论坛搜索功能,那里可能会有你要找的答案;

如果你在论坛求助问题,并且已经从坛友或者管理的回复中解决了问题,请把帖子标题加上【已解决】

如何回报帮助你解决问题的坛友,一个好办法就是给对方加【好评】【金币】,加分不会扣除自己的积分,做一个热心并受欢迎的人!

回复 支持 反对

使用道具 举报

您需要登录后才可以回帖 登录 | 【点我注册】

本版积分规则

QQ|小黑屋|我爱辅助 ( 辽ICP备19006053号-1 )

GMT+8, 2026-3-20 00:11 , Processed in 0.047909 second(s), 20 queries , Gzip On.

Powered by Discuz! X3.4

© 2001-2023 Discuz! Team.

快速回复 返回顶部 返回列表